Seite 1 von 1
TX Ölkühler
Verfasst: Mi 27. Mai 2015, 21:09
von txfriedl
Hallo zusammen , suche für meine TX USA Modell zum Nachrüsten Ölkühler kpl. mit Anschlussleitungen etc.
Re: TX Ölkühler
Verfasst: Fr 9. Feb 2024, 12:30
von Pit
Guten Tag zusammen,
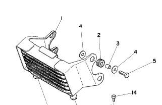
ich suche für einen Neuaufbau einen Ölkühler Teile-Nr.: 341-13470-00

- TX Ölkühler.jpg (11.06 KiB) 20864 mal betrachtet
Re: TX Ölkühler
Verfasst: Di 9. Apr 2024, 15:17
von Torsten
Hallo,
die Yamaha Teile Nr. für einen kompletten Set lautet:
ACC-11130-00-07
Evtl. ab und wann in Ebay nachschauen, besonders auf Ebay.com,
also USA
Gruss Torsten